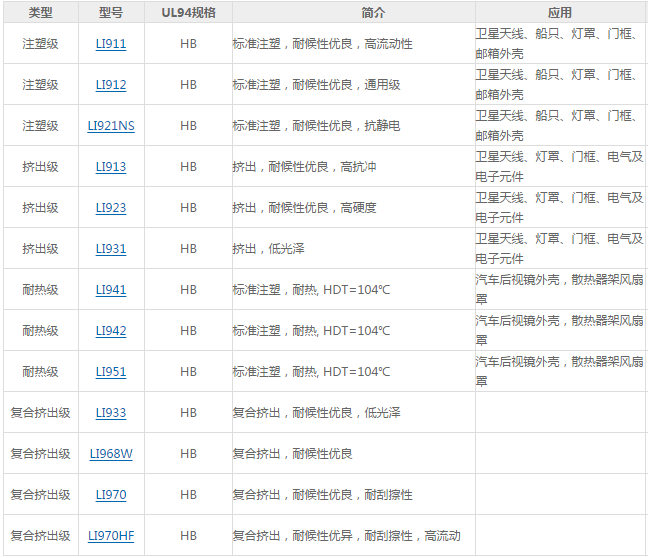
韓國LG係列耐候ASA塑料
熱門產品
-
耐低溫PP(以聚丙烯為基材的耐寒聚合物)
耐低溫PP是一種以聚丙烯為基材的耐寒聚合物,可以達到零下40至60度,通用塑料中,PP的耐低溫性能是很好的,在低溫溫度零下40-60度的戶外有良好的耐應力開裂性,提升聚丙烯抗衝擊力,如今耐寒PP原料等材料已廣泛應用於不同領域,可以看出,近年來出現了越來越多的耐低溫PP塑料製造商。耐低溫PP,耐低溫PP有以下幾點特性:1、低
瀏覽量:5690 -
耐熱ABS維卡軟化溫度達到120度到150度
ABS塑料是一種由丙烯腈(A)、丁二烯(B)和苯乙烯(S)三種單體組成的三元共聚物。這三種單體可以按照不同的比例混合製成各種樹脂,而耐熱ABS是一種在製作產品時具有較高維卡軟化溫度的材料。一般來說,ABS塑料的維卡軟化點在95℃左右,而耐熱ABS材料的軟化溫度可以達到120℃到150℃,因此提高ABS材料的耐熱性十分必要,這
瀏覽量:1656 -
抗菌PP(以聚丙烯為基材的抗黴菌聚合物)
抗菌PP是一種以聚丙烯為基材的抗黴菌聚合物,抗菌PP具有抑菌和殺菌性能的新型功能材料,在化學、化工和醫藥領域,有些材料本身具備殺菌和抑菌性,如一些無機金屬化合物、有機合成化合物、天然礦物和天然產物,但更多的是通常在普通材料中添加或複合一種或幾種特定的抗菌成分(抗菌劑)製得抗菌材料,也是一種自身具有殺菌、
瀏覽量:1345 -
食品級ABS_FDA認證abs_食品接觸ABS
ABS塑料是丙烯腈(A)、丁二烯(B)、苯乙烯(S)三種單體的三元共聚物,在介紹食品級ABS之前,先強調一下,食品級 ABS塑料是不可以吃的,食品級ABS是指可以和食品直接接觸的塑料材質,是要符合FDA食品安全認證的ABS塑料,殘留單體量低,如果是一般的ABS塑料製品不能與食品直接接觸,會間接影響抄到食品安全,食品級的ABS就可以和
瀏覽量:1260 -
Asaclean(旭塑潔_愛塑潔_螺杆清洗劑)
旭塑潔是日本旭化成專門為塑料成型機研發的清洗劑,使用旭塑潔能夠大大減少頻繁換色換料帶來的材料浪費,還能高效清除成型機內的碳化物,防止機內異物的產生。旭塑潔作為一種
瀏覽量:1167 -
耐高溫PP(以聚丙烯為基材的高耐熱聚合物)
耐高溫PP是一種以聚丙烯為基材的高耐熱聚合物,英文名稱:Polypropylene(簡稱pp),是丙烯通過加聚反應而成的聚合物,而即聚丙烯,一般能耐100至150度左右的高溫,普通的聚丙烯,一般熱變形溫度在90度左右,長期耐溫100度左右耐高溫的聚丙烯,一般熱變形溫度在150-180度左右,長期耐溫在100-150度左右。耐高溫PP、高耐熱PP有以下
瀏覽量:1135 -
日本UMG公司DIALAC產ASA塑料
ASA的優點 1、ASA具有良好的機械物理性能 ASA和ABS的結構相似,由丙烯腈和丁二烯橡膠組成,其保留了ABS作為工程塑料所具有的極佳的機械物理性能。 2、ASA具有很強的耐候性 高分子聚合
瀏覽量:1041 -
抗靜電PP(以聚丙烯為基材的防靜電聚合物)
抗靜電PP是一種以聚丙烯為基材的防靜電聚合物,PP是一種半結晶性聚合物,也就是聚丙烯,具有優良的力學性能、耐熱性、耐化學品性及易成型性,已廣泛用於汽車、家電和建築等行業,PP由於分子極性小,吸水性差,具有很強的電絕緣性(表麵電阻率高達10/16~10/18Ω),在生產和使用過程中因摩擦、剝離或感應過程會使製品表麵產
瀏覽量:1036 -
新加坡聚烯烴COSMOPLENE_PP原料
聚烯烴公司(新加坡)Pte有限公司是東南亞第一家主要的聚烯烴製造商,於1984年2月開始運營。1997年擴建工廠,2006年進行重大改造以增加產能,使TPC成為該地區最大、最成功的聚烯烴生產
瀏覽量:958 -
泰國石化IRPC_POLIMAXX_PP原料
泰國石化IRPC(SCG)成立與1913年,集團旗下主要有五項核心業務:化工、造紙、水泥、建材以及貿易。其中化工業務始於1989年,目前暹羅化工主要生產一係列石化產品,包括石化上遊產
瀏覽量:942 -
電鍍級ABS_可電鍍ABS_噴油ABS
電鍍級ABS、可電鍍ABS、噴油ABS是一種ABS塑料,也是丙烯腈(A)、丁二烯(B)、苯乙烯(S)三種單體的三元共聚物,三種單體相對含量可任意變化,製成各種樹脂,可鍍亮黑鎳及金色等七彩鍍種,ABS電鍍不僅可以實現很好的金屬質感,而且能減輕製品重量,在有效改善塑料外觀及裝飾性的同時,也改善了其在電、熱及耐蝕等方麵的性能。同
瀏覽量:937 -
奇美CHIMEI_POLYLAC_ABS樹脂
POLYLAC ABS由苯乙烯、丙烯腈和丁二烯乳漿共聚合而成,本身耐熱性和耐溶劑性均比 HIPS為佳,且具有光澤性。由於丙烯腈的腈基較強,可以增強PS中分子鏈的相互作用,所以衝擊強度、拉伸強度及塑件的表麵硬度均較HIPS為佳,一般丙烯腈的比例含量愈高,其耐熱性、剛性及耐溶劑性愈佳,但流動性愈差且塑料底色帶黃,在注射
瀏覽量:828 -
樂金化學(惠州)化工LG_ABS樹脂
中海油樂金化工有限公司采用世界先進的ABS生產工藝技術建設年產30萬噸ABS裝置及其相應配套設施,生產ABS、SAN、DP等產品,向市場提供國內緊缺的高流動、高光澤、電鍍、噴塗、耐熱、阻燃和板材級等高品質產品。公司以為客戶創造價值為服務宗旨,致力於為客戶提供優質產品、快速服務和整體技術解決方案;依托技術、區位、品牌
瀏覽量:824 -
英力士INEOS_PP原料
英力士集團是一家全球領先的石油化工公司。總部位於瑞士羅勒,作為一家專業生產和銷售石油化工品, 特殊化工品和石油製品的跨國集團, 英力士集團擁有15個大型石油化工業務集團和
瀏覽量:805 -
耐化學PP 耐酸堿抗油性
耐化學PP是一種聚丙烯製成的乳白色高結晶聚合物,具有無毒、無臭、無味等特性,聚丙烯容器重量輕、強度高,因此被廣泛應用於儲存容器,並具有出色的多功能性。耐化學PP的化學穩定性非常好,除了能被濃硫酸和濃硝酸侵蝕外,對於其他各種化學試劑都相當穩定。但是,低分子量的脂肪烴、芳香烴和氯化烴等物質可以導致聚丙烯軟化
瀏覽量:774
推薦產品
韓國樂天LOTTE_Starex材料ABS樹脂從剛剛開始的樂天製果開始,樂天始終積極努力創造一個互相關愛、尊重個性和創意、共同幸福的社會。秉承為國家和社會發展做貢獻的理念,樂天追求以很好的產品滿足顧客需求。韓國樂天LOTTE_Starex高級材料ABS樹脂是透明的 ABS,耐刮傷ABS/GF等產品Line-up構成的starex® ABS Alloy向客戶提供標新立異的高性能。STAREX
日本宇部UBE聚酰胺尼龍PA66樹脂日本宇部UBE係列進口聚酰胺尼龍PA66塑料 UBE Nylon 1013 IU50UBE Engineering Plastics, S.A. Nylon 6 UBE Nylon 1013 NW8UBE Engineering Plastics, S.A. Nylon 6 UBE Nylon 1013B (Cond)UBE Engineering Plastics, S.A. Nylon 6 UBE Nylon 1
抗菌ABS_抑菌ABS_防黴ABSABS塑料樹脂(Acrylonitrile Butadiene Styrene plastic)是丙烯腈(A)、丁二烯(B)、苯乙烯(S)三種單體的三元共聚物,三種單體相對含量可任意變化,在ABS材料中加入抗菌劑,以抑製塑料製品表麵的細菌滋長,一種就是加入無機抗菌劑,這種方法處理的抗菌產品抗菌性能持續時間久,另外一種就是在製品表麵塗覆含有抗菌劑的鍍層,這種
日本東麗Toray_TORAYCON_PBT樹脂TORAYCON 聚酯(PBT)樹脂由東麗利用其在聚酯聚合和樹脂加固化合物領域的專業技術開發而成,是一種基於聚酯纖維的熱塑性樹脂。由於具有持久耐熱性、耐化學性、耐候性以及電氣特性
抗蠕變PEEK(以聚醚醚酮為基材的抗變形特種工程塑料)抗蠕變PEEK是一種以聚醚醚酮為基材的抗變形特種工程塑料。這種堅硬的不透明(灰色)材料具有抗蠕變,抗變形,尺寸穩定性能,它廣泛用於航空航天,汽車,電氣,醫療等應用,由於其堅固性,PEEK用於製造物品,包括軸承,活塞部件,泵,HPLC柱,壓縮機板閥和電纜絕緣。抗蠕變PEEK抗變形尺寸穩定聚醚醚酮特性:抗蠕變好,抗變形
台化TAIRILOY_PC/ABS塑料台塑關係企業是一個以塑膠工業為主體,在纖維、紡織、染整、海運、教育及醫療等事業上也都佔有相當份量的企業。近年來將經營觸角伸展至電子材料及輕油裂解等工業。 自1954年創
奇美KIBILAC係列超耐候ASA塑料訂購說明: 1.公司秉承以誠為本,信譽至上的經營宗旨,【誠信第一】【服務第一】【品質第一】創立了自己的經營理念,在客戶群樹立了良好的口碑。為您提供充足的貨源和專業的技
噴油PP(以聚丙烯為基材的噴漆聚合物)噴油PP是一種以聚丙烯為基材的噴漆聚合物,PP材質表麵通過不同的油漆體係獲得不同的噴油效果,比如普通色漆可以豐富塑料表麵的色彩,通過噴塗的方式將PP水塗裝於底材與油漆之間,增進材質表麵的活性,增進底材與油漆之間的附著力,從而使得油漆能夠更有效的附著於材質表麵,形成牢靠有效的塗層,噴油是一種工業產品的表麵塗
阻燃PC_耐油PC_盛禧奧EMERGE_PC塑膠原料盛禧奧EMERGE係列PC塑膠原料 型 號:齊全 色 號:齊全 品 牌:台灣盛禧奧EMERGE 單 價: 電議 起訂量: 25 kg 供貨總量: 10000 kg 發貨期限: 自買家付款之日起 3 天內發貨 批發
阻燃PBT_耐高溫PBT_杜邦CRASTIN_PBT樹脂聚對苯二甲酸乙二醇酯CRASTIN美國杜邦PBT樹脂注塑之前一定要在110~120℃的溫度下幹燥3小時左右,成型加工溫度為250~270℃,模溫控製在50~75℃為宜。因該料從熔融狀態一經冷卻,則會立即凝固結晶,故其冷卻時間較短;若噴嘴溫度控製不當(偏低),流道(水口)易冷卻固化,會出現堵嘴現象。若料筒溫度超過275℃或熔料在料



























